Sold Alerts provide commercial property owners with valuable, hard-to-get comparable sale information.
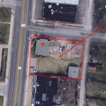
- 1117-1119 Dickerson Pike is an assemblage of two land parcels totaling 14,500 SF.
- The previously developed corner parcels can be found at the intersection of Dickerson Pike and Richardson Avenue.
- The parcels include a 1,500 SF structure, built in 1974, that was most recently used as a tattoo parlor.
- This was an all-cash purchase.
- While the plans for the property haven’t been made public, the buyer owns multiple convenience stores in the Nashville area.
- The property just sold for $900,000…the equivalent of $62/SF of land.
(FREE PROMOTION) Find out how much your property is worth, for free, before you list it for sale. Get your property value now.
Get all our exclusive content in one simple email, every Friday. Sign up now.
About Beau Beach, MBA CCIM
Beau is a tenacious Commercial Real Estate Broker, entrepreneur and adoring father of four. His clients appreciate his no-nonsense demeanor and his legendary work ethic.
Beau leads Beachwood which is a nationwide commercial real estate brokerage for sellers…with emphasis in Nashville, Milwaukee and the states of the Southeast.
He’s earned the revered “CCIM” designation which is awarded to the top 6% of all commercial real estate brokers.
He’s the author of the books The 3 Reasons: Why Most Commercial Properties Don’t Sell and True Wealth: What Every Seller Should Know About 1031 Exchanges.
Beau can be reached at 800-721-3287, click to schedule a call or Beau@soldbybeachwood.com


